
產品概述:
GN198B-2溫濕度控制器選用高可靠性微處理器與高性能的數字式溫濕度傳感器,以智能化軟件控制技術組合而成。控制器具有抗干擾能力強、控制精度高、控制方式靈活,能根據不同的溫濕度控制需要,可對溫濕度上下限、控制回差、控制方式分別進行設定,可有效地防止運行中的電力設備由于環境溫濕度過高及凝露產生而引發的各類事故,實現除濕、加熱、防凝露控制自動化。該溫濕度控制器經各設計院電力設計部門、電力設備制造廠及各供電公司的長期應用,具有完全可靠,安裝簡便,免維護,長期穩定運行等特點,可廣泛應用于各類電力柜體(高低壓開關柜、箱式變電站、環網柜、操作機構箱等)的配套設施中,以及各種建筑、船舶、倉儲等對溫濕度有監控要求的場合。
主要功能:
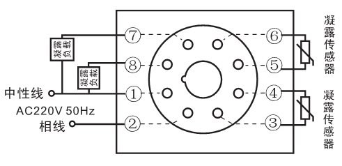
二路凝露控制,濕度過大或者將有凝露產生時,啟動負載,調節濕度至設定值。可同時對二個不同環境控制或者對一個環境實現控制達到雙重保險作用。
技術特性:
凝露啟控:88%RH±5%RH(20℃)
響應速度:典型值≤5S
負載控制:手動/自動轉換
輸出:一倍工作電壓,額定功率阻性負載AC220V/3Ax2
體積:48x48x78mm3
安裝方式:
(1)基座式:
將8芯繼電器座固定在35mm導軌或通過安裝螺孔直接固定在安裝板上。
(2)嵌入式:
在安裝面板上開具45+x45孔,通過安裝支架將監控器固定在面板上。
基座式:

嵌入式:
